唐山10家医院成为河北省职工医保跨省异地就医定点医院
唐山信息港 发表于:2017-7-23 09:59 复制链接 看图 发表新帖
阅读数:3758
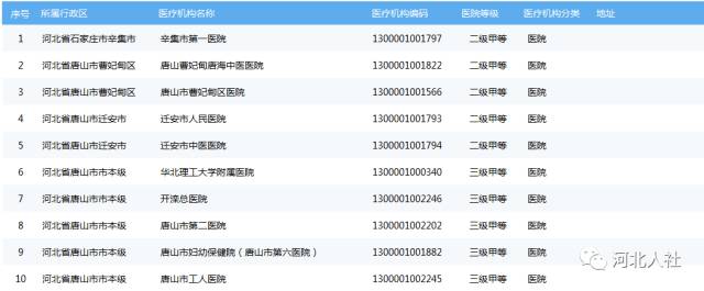
随着省本级及13个市职工基本医疗保险正式接入国家异地就医跨省结算信息系统,河北省符合条件的跨省异地就医参保人员住院费用可以直接结算,省外基本医疗保险参保人来我省就医同样可以实现住院费用直接结算。截至7月20日,河北省共开通79家跨省异地就医定点医疗机构,供参保人员选择就医。其中包括我市工人医院、开滦总医院、华北理工大学附属医院等10家医院。具体名单可在http://si.12333.gov.cn网站查询。

79家定点医院名单

62eea8da21dd1ee9ee8b284b7da8adea.jpg

858d7cf59dd56c1067a248e05f1bbf17.jpg

d2bfd5b40278de5a1e1e29699cc2674a.jpg

77aec83a4d140e7e1001b414e373bc4a.jpg

bdf475ac24c870cd2b01b0e80a6024ea.jpg

afcfe6aee6b0cf91efe7389e5b777677.jpg

50a62009803c873cb3681798d73c59c4.jpg

4e08a695e9f3c8fa4ca2a9e427ed085c.jpg

来源:河北人社
返回列表 使用道具 举报
条评论
您需要登录后才可以回帖 登录 | 立即注册
相关推荐
©2001-2021 唐山信息港 http://www.tsxxg.com冀ICP备2026004523号
首页联系我们客服微信:14369595Comsenz Inc.